全国咨询热线
0532-89670500货淋室、风淋室是一种净化车间常用的净化设备,作为为工作人员和货物进出洁净区域所设置的洁净装置,可以有效迅速清除人身和物体表面的尘埃,减少带入洁净室的灰尘量,同时起到气闸室功能,防止不清洁空气侵入,确保洁净室达到所需洁净度。如何挑选一台合适自己的风淋室,是每个企业都比较在意的问题。接下来,康瑞鑫净化公司的小编,就为大家讲解以下,如何挑选一台合适的风淋室。
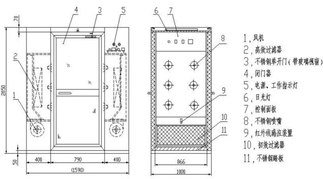
在先择风淋室之前,需要先对其结构进行初步的了解,了解清楚风淋室的结构之后,才能够更好的挑选风淋室。

▲风淋室结构图
风淋室的结构相比较其他净化设备而言,有比较明确的组成部分,一般是由箱体、门、高效过滤器、送风机、配电箱、喷嘴等几大部件组成。箱体,门等框架结构,通常采用不锈钢制作而成,其中箱体用不锈或钢板折弯焊接,表面静电喷塑处理,内底板为全不锈钢板制而成,从而达到美观耐用的效果。
了解了风淋室的结构,想必大家对其内部构造已经有了初步的了解,光了解内部结构还远远不够,风淋室的使用材质才是是决定风淋室是否合适的重要因素,同样,材制的好坏也是影响价格的重要因素。
风淋室内、外箱体有可供选用的材质主要有二种,分别为全A3冷板多层酸洗静电喷涂板,通常称为冷板,另一种为不锈钢板,不锈钢又分为SUS201,SUS304,SUS316等,厚度一般为0.8~1.5mm。通常企业根据自身经济利益,降低成本的情况下会有以下几种风淋室箱体材质的搭配:
1、全冷板风淋室,内底板与喷嘴和拉手为不锈钢。
2、外冷板内不锈钢风淋室。
3、内、外箱体采用全不锈钢风淋室。
4、彩钢板风淋室

▲不锈钢风淋室
风淋室的门体主要有全玻璃与半透明视窗门可选,而材质上又可分为冷板门或不锈钢门。
当然,无论选择哪一种材制作为风淋室的主体材料,都要解和自身的经济实力和用途来综合选择,选择的材料越好,风淋室的价格也就越高

▲彩钢板风淋室
全不锈钢风淋室价格比全冷板风淋室价格稍要偏高,因为材质成本本身就比冷板增加不少,全不锈钢风淋室耐强酸度较高,因此风淋室厂家通常会建议使用不锈钢风淋室。另外,如果企业现场如有酸性气体或潮湿的工场环境时,则需要选择全不锈钢风淋室;反之可以选择全冷板风淋室来降底成本,其功能也都是一样。
在选购风淋室设备时;首先应注重其是否有一套优质的高效过滤器。现在通常都会选用无隔板的高效过滤器,当然也会有许多厂家选用的有隔板高效过滤器,这两种过滤器之间是有差异的,有隔板高效过滤器是比较早期的风淋室所配套的,所以优秀的风淋室厂家会选用无隔板高效过滤器,比有隔板高效过滤器的技术含量更高,过滤的作用更佳。因此高效过滤器关于风淋室的重要运用不应忽视。
优秀风淋室的控制电路通常都是集成控制系统,是风淋室专用的控制电路,有急停、手动发动、风淋时刻调理等模块组成。优秀风淋室一些小配件(如:主动闭门器、红外感应器、电子互锁等)往往也是有优良口碑的好品牌,其关系到整个风淋室的稳定正常运转,所以也是不容忽视的。

▲风淋室操控系统
为了更好的让大家选择一台合适的风淋室,康瑞鑫净化公司的小编为大家依据行业的不同和用途的不同,进行了大体的推荐,帮助大家更好的选择合适的风淋室。
1、电子厂选择风淋室的建议
电子厂一般采用冷轧板材质的风淋室居多,冷轧板通俗点就是防静电喷塑铁板。这种材质防静电、防辐射,价格又适中,适用于静电离子比较多的场合。但是其缺点就是一旦喷塑油漆脱落表皮外露造成铁板氧化导致生锈现象发生。
2、食品/制药行业选择风淋室的建议
一般食品/制药企业多选用不锈钢或彩钢板材质。不锈钢材质外观大方美观,不锈钢的特性防腐蚀,抗氧化不生锈,而且很结实,适用于比较潮湿的环境或者有腐蚀性气体或液体的场合,总体来讲使用寿命较长。彩钢板也叫防静电喷塑钢板,中间为泡沫两边为铁皮,这种材质价格低廉,设备重量轻易装卸。可以大大降低采购成本但缺点是不耐腐蚀,不抗氧化,而且寿命短。适用于小规模的企业使用。
3、人淋/货淋选择建议
风淋室有两种体现形式,人淋和货淋。人淋用风淋室选择一般是以25人为基本单位,一般人数在25人以下选择单人风淋室,25人以上50人以下一般选择双人风淋室,依此类推。
货淋室是给一些货物进行洁净的设备,特点无底板,尺寸由装卸货物的小车尺寸决定。这种设备安装方便选材随意,是一个未来的发展趋势。
一台风淋室是否合适,决定着企业用的是否顺心,一台结构清晰,选材用料好,操控系统出色,过滤出风大,价格合适的风淋室,是大家都所要追求的,但往往其中各种因素都是相背驰的,因此,选择一台功能够用,材料合格,价格在能力范围内的风淋室,是再合适不过的了。好了, 本篇文章到这里就全部结束了,想必大家阅读到最后,心里应该很清楚如何选择一台合适的风淋室了,如果感觉本篇文章对您有所帮助,欢迎持续关注我们康瑞鑫净化公司,我们将持续为您分享净化工程的专业知识和提供专业的净化车间服务,努力成为一家让大家值得信赖,口碑优秀的净化公司。
联系电话
微信扫一扫
返回顶部
Copyright 2005-2016 创世红海 ALL Rights Reserved